|
一、材料 本产品采用“双酚A”型不饱和聚酯树脂为基体材料,(常州二五三厂197#树脂,上海新华树脂厂323#树脂,天津合成材料厂3301#树脂)中碱玻璃纤维布为增强材料、经制内壳、缠绕、层合而成。(由丹玛熙玻璃钢格栅收集)
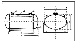
二、结构 容器一般采用圆形或椭圆形,封头为圆球形或椭球形,汽车运输槽车内置隔仓板,以减少介质对内壁的冲击负载,二吨以上槽车、槽罐设玻璃钢圆形支撑管,罐体上部设置加料口及浮标口,封头下面设一放料口及玻璃钢球阀。 三、特点 本产品具有较高的力学性能,良好的耐腐性能,使用期长、自重轻、易修理、绝缘性等特点。使用单位可节约能源,提高运输能力,减少成本和维修费用。(由丹玛熙玻璃钢格栅收集)
四、用途 能运输,贮存各种化二腐蚀介质。 五、性能 (1)本产品系室温固化,固化度>85% (2)内衬及外层为富树脂层,树脂含量>65%,以提高耐腐蚀及防老化性能,中间结构层玻璃纤维含量>50%,以提高产品的强度。 (3)盛水静压48小时无渗漏,加压0.3-0.5kg/cm2,30分钟不渗漏。 (4)物理力学性能。(由丹玛熙玻璃钢格栅收集)
 六、规格 汽车运输槽车示意图表

 玻璃钢卧式贮罐示意图表 
 玻璃钢立式贮罐示意图表 
七、耐化学性能指标
  |